http协议 第二十五天

  1. 计算机网络模型基础
  2. tcp/udp协议
  3. 简介
  4. 各层介绍
  5. HTTP协议
    1. 特点
    2. URL
    3. URI
    4. URN
    5. 请求方法
    6. 状态码
  6. 常见请求头
  7. 常见响应头
  8. burp请求头响应
  9. http和https异同

计算机网络模型基础

    计算机通信,其实是通过网络传递的二进制信号,也就是010101.…,那么总得给计算机通信一个规范,指导它们来正确解析数据,
从而完成正确的响应工作。而计算机网络协议分层,就是为了解决这种问题而设计的。

    最开始提出来的叫做开放系统互连基本参考模型OSI/RM模型,这个叫做国际标准,但是由于种种原因,非国际保准|
的TCP/IP模型成了当前主流的标准。

    OSl模型总共分为七层,从下到上分别是:物理层,数据链路层,网络层,运输层,会话层,表示层,应用层
    TCP/IP模型分为五层,从下到上分别是:物理层,链路层,网络层,运输层,应用层


    参考链接:

    https://blog.csdn.net/ce123_zhouwei/article/details/17453033   (ip数据格式)

    http://www.360doc.com/content/11/1201/09/7503466_168805370.shtml  (tcp/udp数据格式)

    https://blog.csdn.net/qzcsu/article/details/72861891     (tcp三次握手与四次挥手)

    https://blog.csdn.net/xifeijian/article/details/12777187   (tcp为何三次握手和四次挥手)

    https://blog.csdn.net/li1914309758/article/details/70050022    (以太网四种帧格式)

tcp/udp协议

    tcp是一种面向连接的、可靠的、基于字节流的传输层协议,udp是一种无连接的传输层协议,提供面向事务的
简单不可靠信息传输层协议

1.TCP提供的是面向连接的、可靠的数据流传输;UDP提供的是非面向连接的、不可靠的数据流传输。

2.TCP提供可靠的服务,通过TCP连接传送的数据,无差错、不丢失,不重复,按序到达;UDP尽最大努力交付,即不保证可靠交付。

3.TCP面向字节流;UDP面向报文。

4.TCP连接只能是点到点的;UDP支持一对一、一对多、多对一和多对多的交互通信。

5.TCP首部开销20字节;UDP的首部开销小,只有8个字节。

6.TCP的逻辑通信信道是全双工的可靠信道;UDP的逻辑通信信道是不可靠信道。

简介

计算机通信,其实是通过网络传递的二进制信号,也就是010101..,那么总得给计算机通信一个规范,指导它们来正确解析数据,从而完成正确的响应工作。而计算机网络协议分层,就是为了解决这种问题而设计的。

最开始提出来的叫做开放系统互连基本参考模型OSI/RM模型,这个叫做国际标准,但是由于种种原因,非国际保准的TCP/IP模型成了当前主流的标准。

OSI模型总共分为七层,从下到上分别是:物理层,数据链路层,网络层,运输层,会话层,表示层,应用层

TCP/IP模型分为五层,从下到上分别是:物理层链路层网络层,运输层,应用层

各层介绍

物理层:主要用来规定电气特性的,必须按照标准使用哪些软件。例如调制解调器、PLC、SONET/SDH、G.709、光导纤维、同轴电缆、双绞线,其中数据单元是比特,典型设备有:中继器、集线器、网线、HUB。

数据链路层:有ARQ、CSMA/CD、PP、LCP、HDLC、ATM等协议,其数据单元为帧,典型设备有:网卡,网桥、交换机

网络层:IP、ARP,RARP,ICMP,IGMP,RIP,OSPF,BGP,IS-IS,IPsec等协议,其数据单元为:数据包,典型设备有:路由器,防火墙,多层交换机。

传输层:TCP,UDP,DCCP,SCTP,RTP,RSVP,PPTP等协议,其数据单元为数据段,典型设备有:进程和端口

应用层:QHCP,FTP,HTTP,SMTP,POP3,IMAP,SMTP,SMTP,SSH,TELNET,RPC,TLS,SOAP,DNS等协议,典型设备有:应用程序,例如FTP,SMTP,HTTP

特点:在计算机网络中,越往高层走,越偏向软件化

HTTP协议

特点

简单快速:
    客户向服务器请求服务时,只需传送请求方法和路径。请求方法常用的有GET、HEAD、POST
。每种方法规定了客户与服务器联系的类型不同。

灵活:

    HTTP允许传输任意类型的数据对象。正在传输的类型由Content-Type加以标记。

无连接:

    无连接的含义是限制每次连接只处理一个请求。服务器处理完客户的请求,并收到客户
的应答后,即断开连接。采用这种方式可以节省传输时间。

无状态:
    HTTP协议是无状态协议。无状态是指协议对于事务处理没有记忆能力。缺少状态意味着如
果后续处理需要前面的信息,则它必须重传,这样可能导致每次连接传送的数据量增大。另一方面,在服务器不需要先前信息时它的应答就较快。

支持B/S及C/S模式:
    b/s即使用浏览器通过HTTP协议和服务器通信,c/
s即在其他软件中编程实现和服务器的HTTP通信

URL

URL: 

    统一资源定位器,他是一种具体的URI,用URL可以来标识一个资源,而且还指名了如何loc
ate这个资源URL是Internet上用来描述信息资源的字符串,主要用在各种WWW客户程序和服务程序上,特别是著名的Mosaic采用URL可以用一种统一的格式来描述各种信息资源,包括文件、服务器的地址和目录等。

URL一般由三部组成:

①协议(或称为服务方式)

②存有该资源的主机IP地址(有时也包括端口号)

③主机资源的具体地址。如目录和文件名等

URI

统一资源标识符,用来唯一的标识一个资源

Web上可用的每种资源如HTML文档、图像、视频片段、程序等都是一个来URI来定位的 URI一般由三部组成:

①访问资源的命名机制

②存放资源的主机名

③资源自身的名称,由路径表示,着重强调于资源。

URN

统一资源命名,是通过名字来标识资源,比如mailto:java-net@java.sun.com。

请求方法

状态码

状态代码有三位数字组成,第一个数字定义了响应的类别,共分五种类别:

1xx:指示信息–表示请求已接收,继续处理

2xx:成功–表示请求已被成功接收、理解、接受

3xx:重定向–要完成请求必须进行更进一步的操作

4xx:客户端错误–请求有语法错误或请求无法实现

5xx:服务器端错误–服务器未能实现合法的请求

常见的状态码,

200: OK 服务器成功处理了请求,

301: 重定向,请求的URL已移走(永久)

302: 临时跳转的意思

304: 未修改,客户的缓存资源是最新的,要客户端使用缓存(服务端执行了GET,但文件未变化)400: 访问的页面域名不存在或者请求错误;1、bad request意思是“错误的请求”;2、invalid hostname意思是”不存在的域名”

403: 禁止,请求被服务器拒绝了

404: 未找到资源5

500: 内部服务器错误,服务器遇到一个错误,使其无法为请求提供服务

常见请求头



其他:

X-Requested-With:主要是用来识别ajax请求,很多javascript框架会发送这个头域(值为XMLHttpRequest)
DNT : DO NOT TRACK的缩写,要求服务器程序不要跟踪记录用户信息。DNT: 1 (开启DNT) DNT: 0 (关闭DNT)火狐,safari,IE9都支持这个头域,并且于2011年3月7日被提交至IETF组织实现标准化
X-Forwarded-For : 记录一个请求从客户端出发到目标服务器过程中经历的代理,或者负载平衡设备的IP。
X-Forwarded-Proto:记录一个请求一个请求最初从浏览器发出时候,是使用什么协议。因为有可能当一个请求最初和反向代理通信时,是使用https,但反向代理和服务器通信时改变成http协议,这个时候,X-Forwarded-Proto的值应该是https
Front-End-Https:微软使用与其负载平衡的一个头域。

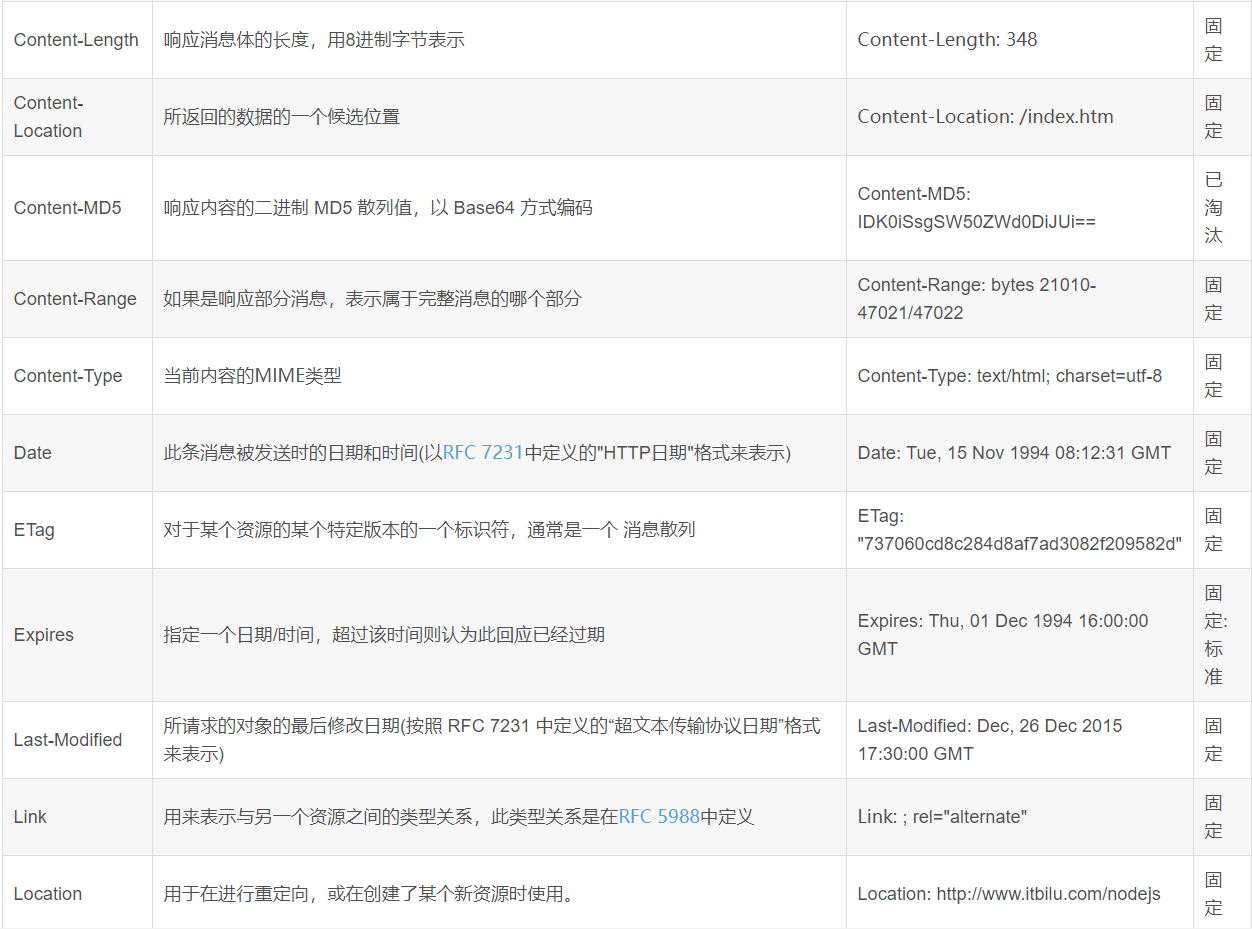
常见响应头




burp请求头响应

http和https异同

通信使用明文,内容可能被窃听(重要密码泄露)

不验证通信方身份,有可能遭遇伪装(跨站点请求伪造)

无法证明报文的完整性,有可能已遭篡改(运营商劫持)

https是在http基础上加入加密处理和认证机制以及完整性保护,即http+加密+认证+完整性保护=https

这张图片很简洁的表示了他们之间的关系:


转载请注明来源,欢迎对文章中的引用来源进行考证,欢迎指出任何有错误或不够清晰的表达。可以在下面评论区评论,也可以邮件至 zhumeng512@qq.com

文章标题:http协议 第二十五天

本文作者:弈少

发布时间:2019-08-20, 09:11:23

最后更新:2019-08-20, 22:31:15

原始链接:http://yoursite.com/2019/08/20/北京渗透测试第二十五天 20190820/

版权声明: "署名-非商用-相同方式共享 4.0" 转载请保留原文链接及作者。

目录
×

喜欢就点赞,疼爱就打赏

相册